Use the figures and tables below to find information about
parts such as rack brackets, sheet metal, and covers.
Note: The following part numbers are the most recent for this version of the
Parts Catalog. Your storage facility or serviceable event FRU list might contain an older or newer
part number. The parts-ordering system recognizes all valid part numbers and automatically
substitutes an available part number as needed.
Figure 1. Rack cover parts
Table 1. Rack brackets, sheet metal,
covers parts (Models 941, 94E)
Index
Part name
Part number
1
Cover, front, Models 941, 94E
45W4242
2
Screw
54G2882
3
Cover, side
22R59662
4
Cover, rear, left3
22R6938
5
Screw (M5x8)
39J3128
6
Cover, rear, right3
22R6940
7
Pin, cover hinge
22R4298
8
Cover, side
22R59662
9
Bracket, side cover-to-rack
N/A
10
Screw, side cover bracket
1621842
11
Bracket, bottom hinge
22R4959
12
Screw, bracket-to-frame
23R1520
13
Hinge, rear cover
18P4578
14
Screw, rear cover hinge-to-frame
23R1520
Notes:
Two finger latches secure the early version cover (at the side
of the rack).
Two screws (P/N 31L7540) secure the later version cover (at the
top of the rack).
Viewed from the front.
Figure 2. Front cover
latch parts
Table 2. Front cover latch parts (Models
941, 94E)
Index
Part name
Part number
1
Cover, front, aluminum
22R1404
Cover, front, steel
23R0275
2
Latch, front cover
21P4054
3
Screw, bracket-to-frame
22R0780
4
Bracket, front cover latch
41V0082
Figure 3. Front cover
stop and lower hinge parts
Table 3. Front cover stop and lower
hinge parts (Models 941, 94E)
Index
Part name
Part number
1
Cover, front, aluminum
22R1404
Cover, front, steel
23R0275
2
Screw, stop strap (M6x20)1
22R3604
3
Washer, stop strap1
22R3496
4
Bushing/spacer, stop strap1
22R3495
5
Bracket, stop strap1
22R3481
6
Screw, bracket/hinge-to-frame
23R1520
7
Bracket/hinge, front cover mount, lower
22R4959
Notes:
Part of the stop strap kit P/N 23R1261.
Figure 4. Rear cover
latch parts
Table 4. Rear cover latch parts (Models
941, 94E)
Index
Part name
Part number
1
Screw, bracket-to-frame
23R1520
2
Bracket, rear cover latch
23R0871
3
Rear cover, right1
23R1520
4
Latch, rear cover
21P4054
Notes:
Viewed from the front.
Figure 5. Interrack spacer studs
Table 5. Interrack spacer studs (Models
941, 94E)
Index
Part name
Part number
1
Bolt, interrack spacer stud
1621545
2
Washer, interrack spacer stud (M8)
84X5850
3
Spacer stud, interrack
22R5046
Figure 6. Installing the interrack decorative covers
Table 6. Interrack decorative covers
(Models 941, 94E)
Index
Part name
Part number
1
Cover, interrack decorative, side (one-piece
early version)
22R4964
2
Cover, interrack decorative, side (two-piece/hinged
later version)
23R10501
3
Cover, interrack decorative, top
22R4962
Figure 7. Assembling the later version of the interrack decorative side covers
Table 7. Interrack decorative side
covers (later version) (Models 941, 94E)
Index
Part name
Part number
1
Cover, interrack decorative, side (two-piece/hinged
later version)
23R1050
2
Bracket
23R2044
3
Nut
84X4841
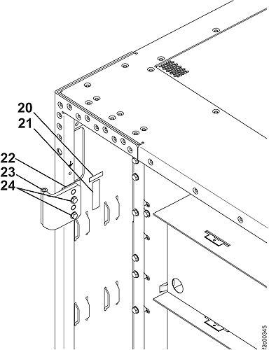
Figure 8. Rack labels
Table 8. Frames and covers labels (Models
941, 94E)
Index
Part name
Part number
20
Label, serial number
05J7400
21
Label, barcode serial number
44F0924
22
Shim, rear door adjustment
22R6151
23
Hinge, rear covers
18P4578
24
Screw, rear hinges
54G2882
Figure 9. Rack shelves
and brackets
Table 9. Frames and covers PPS shelf
and bracket (Models 941, 94E)
Index
Part name
Part number
30
Shelf, PPS
22R4942
31
Screw, PPS shelf mounting (M5x6)
1621329
N/A
Bracket, PPS left (not shown)
22R4943
32
Bracket, PPS right
22R4944
33
Screw, PPS bracket (M5x8)
1621842
Figure 10. Rack shelves
and brackets
Table 10. Frames and covers PPS shelf
and bracket (Models 941, 94E)
Index
Part name
Part number
35
Housing assembly, RPC card
22R4940
36
Bracket, cable routing
22R6122
37
Rivets, RPC housing
04F1988
Figure 11. Rack shelves
and brackets
Table 11. Frames and covers brackets
and screws (Models 941, 94E)
Index
Part name
Part number
40
Bracket, cable routing
22R6135
41
Screw, cable routing bracket
1621842
42
Bracket, cable routing
22R6136
43
Bracket, bus bar
22R6132
44
Screw, bus bar
54G2882
45
Screw, bus bar
1624775
46
Bracket, side covers
N/A
47
Screw, side cover bracket
1621842
Figure 12. Rack shelves
and wrappers
Table 12. Frames and covers shelves and
wrappers (Models 941, 94E)
Index
Part name
Part number
50
Screw
1621842
51
Bracket, PPS left
22R4943
52
Slide, PPS
22R0780
53
Screw, PPS slide mounting (M5x8)
22R0780
54
Shelf, battery
22R4946
55
Screw, battery shelf
1621842
56
Wrapper, I/O enclosure
23R1338
57
Screw, wrapper
54G2882
58
Nut clip, wrapper
74F1823
Figure 13. Rack shelves
and brackets
Table 13. Frames and covers brackets
and screws (Models 941, 94E)
Index
Part name
Part number
60
Tailgate bar
23R0039
61
Tailgate assembly, early version1
N/A
61
Tailgate assembly, later version2
23R2456
62
Screw, tailgate assembly
1621842
63
Bracket, cable
22R4947
64
Screw, cable bracket
1624775
65
Screw, cable bracket
54G2882
Figure 14. Tailgate parts
(early version)
Table 14. Tailgate parts (early version)
(Models 941, 94E)
Index
Part name
Part number
70
Bracket, strain relief
N/A
71
Screw, strain relief assembly mounting
N/A
72
Tailgate frame
N/A
73
Tailgate insert (clamping bracket)1
N/A
74
Tailgate insert (clamping bracket)2
N/A
75
Tailgate insert (clamping bracket)3
N/A
76
Tailgate insert (clamping bracket)4
N/A
Notes:
The rubber pad on the left side of the bracket is 11 mm (0.43
in.) thick. The right pad is 6 mm (0.24 in.) thick.
The rubber pad on the left side of the bracket is 9 mm (0.35)
thick. The right pad is 6 mm (0.24 in.) thick.
The rubber pad on the left side of the bracket is 6 mm (0.24)
thick. The right pad is 11 mm (0.43 in.) thick.
The rubber pad on each side of the bracket is 11 mm (0.43 in.)
thick.
Figure 15. Tailgate parts
(later version)
Table 15. Tailgate parts (later version)
(Models 941, 94E)
Index
Part name
Part number
1
Tailgate frame
22R2457
2
Bracket, strain relief
22R4950
3
Tailgate insert (clamping bracket)
1
4
Screw
54G2882
Notes:
Call the next level of support.
Figure 16. Caster parts
Table 16. Casters (Models 941, 94E)
Index
Part name
Part number
80
Nut, caster mounting
1622420
81
Caster
22R4156
82
Caster load plate
22R4155
83
Caster shock pad
22R4154